9급 국가직 공무원 토목설계 (2019년04월06일 기출문제)
1과목 : 과목 구분 없음
1번
PSC보에서 프리스트레스 힘의 즉시손실 원인에 해당하는 것은? (단, 2012년도 콘크리트구조기준을 적용한다)
2번
보통중량골재를 사용한 콘크리트의 탄성계수가 25,500MPa일 때, 설계기준압축강도 fck[MPa]는? (단, 2012년도 콘크리트구조기준을 적용한다)
3번
복철근 직사각형보에서 압축철근의 배치목적으로 옳지 않은 것은? (단, 보는 정모멘트(+)만을 받고 있다고 가정한다)
4번
그림과 같이 지그재그로 볼트구멍(지름 d=25 mm)이 있고 인장력 P가 작용하는 판에서 인장응력 검토를 위한 순폭 bn[mm]은?

5번
KS F 2405(콘크리트 압축강도시험방법)에 따라 결정된 재령 28일에 평가한 원주형 공시체의 기준압축강도 fck가 30MPa이고, 충분한 통계 자료가 없을 경우 설계에 사용할 수 있는 평균 압축강도 fcm[MPa]은? (단, 2015년도 도로교설계기준을 적용한다)
6번
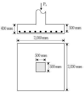
그림과 같은 2방향 확대기초에 자중을 포함한 계수하중 Pu=1,600 kN이 작용할 때, 위험단면의 계수전단력 Vu[kN]는? (단, 2012년도 콘크리트구조기준을 적용한다)

7번
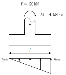
그림과 같은 철근콘크리트 사각형 확대기초가 P=120 kN, M=40 kNㆍm를 받고 있다. 이때 확대기초에 발생하는 최소응력 qmin이 0이 되도록 하기 위한 길이 ℓ[m]은? (단, 단위폭으로 고려한다)

8번
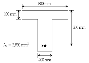
그림과 같은 T형보에 대한 등가 응력블록의 깊이 a[㎜]는? (단, fck=20MPa, fy=400MPa)

9번
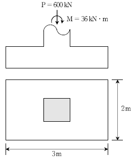
그림과 같이 바닥판과 기둥의 중심에 수직하중 P=600 kN과 휨모멘트 M=36 kNㆍm가 작용할 때, 확대기초에 발생하는 최대 응력[kN/m2]은?

10번
보통중량콘크리트를 사용한 경우 전단설계에 대한 설명으로 옳지 않은 것은? (단, 2012년도 콘크리트구조기준을 적용한다)
11번
철근콘크리트 기둥 중 장주 설계에서 모멘트 확대계수를 두는 이유는? (단, 2012년도 콘크리트구조기준을 적용한다)
12번
슬래브 설계에 대한 설명으로 옳지 않은 것은? (단, 2012년도 콘크리트구조기준을 적용한다)
13번
프리텐션 프리스트레싱 강재가 보유하여야 할 재료성능으로 옳은 것은?
14번
유효길이 Le=20m, 직사각형 단면의 크기 400㎜×300㎜인 기둥이 1단 자유, 1단 고정인 경우 최소 좌굴임계하중 Pcr[kN]은? (단, 기둥의 탄성계수 E=200 GPa이다)
15번
보통중량콘크리트에 D25철근이 매립되어 있을 때, 철근의 기능을 발휘하기 위한 최소 묻힘길이(정착길이 ld)[㎜]는? (단, 부착응력 u = 5MPa, 철근의 항복강도 fy = 300 MPa, 철근의 직경 db=25㎜, 2012년도 콘크리트구조기준을 적용한다)
16번
전단철근이 부담해야할 전단력 Vs=700 kN일 때, 전단철근 (수직스터럽)의 간격 s[㎜]는? (단, 보통중량콘크리트이며 fck=36MPa, fy = 400 MPa, b = 400㎜, d = 600㎜, 전단철근의 면적 Av=700mm2이며, 2012년도 콘크리트구조기준을 적용한다)
17번
단철근 직사각형보의 최대철근비 ρmax =0.02일 때, 연성파괴가 되기 위한 최대 철근량[mm2]은? (단, b=300㎜, d=600㎜, 최소철근비 ρmin=0.003이고, 2012년도 콘크리트구조기준을 적용한다)
18번
포스트텐션 방식의 PSC보를 시공하는 순서를 바르게 나열한 것은?

19번
접합부에서, 한쪽 방향으로는 인장파단, 다른 방향으로는 전단항복 혹은 전단파단이 발생하는 한계상태는? (단, 2011년도 강구조 설계기준을 적용한다)
20번
압축철근량 As'=2,400mm2로 배근된 복철근 직사각형보의 탄성처짐이 10㎜인 부재의 경우 하중의 재하기간이 10년이고 압축철근비가 0.02일 때, 장기처짐을 고려한 총 처짐량[㎜]은? (단, 폭 b = 200㎜, 유효깊이 d= 600㎜이고, 2012년도 콘크리트구조기준을 적용한다)